行業動態
加大自吸泵自吸能力的5種方法(附帶圖文)
[編輯:南方水泵][來源:未知] [時間:2020-03-09]
自吸泵是離心泵的一種,具有結構緊湊、操作方便、運行平穩、維護容易、效率高、壽命長,并有較強的自吸能力等優點。使用自吸泵的用戶往往會遇到“怎樣加大自吸泵的自吸能力”的問題,提高自吸能力的方法有很多,南方水泵小編給大家分享常見的5種方法:
第一種方法(最簡單)
自吸排污泵在水泵吸水管路上設置真空泵,水泵啟動前,真空泵先啟動,使水泵吸水管內先布滿水,保證水泵自動、迅速啟動。
這種吸水方式需要有完善的自動控制系統以保證正常工作。
第二種方法(較為簡單)
自吸泵減少進水管道彎道、落差高度和水平間隔。
第三種方法(麻煩但好用)
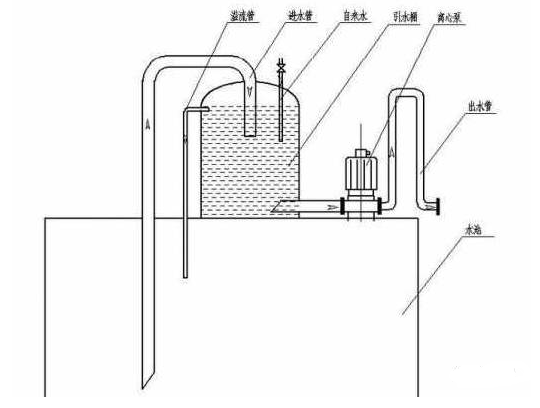
自吸泵設置泵前吸水罐。這種方式需要在水泵吸水管上設置一個吸水罐,水泵在第一次運行前,罐內應人工灌滿水,第一次運行休止后,由于吸水罐的進水管高度高于管內水面高度,盡管水池內水面高度低于罐內水面的高度,罐內的水也不會倒流,進入水池,所以,吸水罐內能儲存一定的水,又由于吸水罐的出水管(即水泵的吸水管)高度低于管內水面高度,故能保證水泵的吸水管內布滿水,以后水泵再運行時,水罐內的水被水泵抽走,罐內泛起負壓,水池中的水在大氣壓力的作用下增補到吸水罐內,通過吸水罐水池內的。
第四種方法

自吸排污泵的吸水管末端安裝吸水底閥。吸水底閥實際上是一種止回閥,它保證水流只能由水池進人吸水管而不能倒流,所以假如吸水管內布滿水,盡管水泵軸線標高高于水池的工作水位,但因為有吸水底閥的作用,吸水管內的水不會流入水池,可使吸水管內一直都布滿水,保證水泵能自動、迅速啟動。將底閥取消,取而代替的是一個簡單的引水桶,這樣就解決了水泵經常抽不上水的問題,很實用。
第五種方法

在泵結構上研發改造,例如下圖,自吸泵是直接將真空葉輪與離心泵結合在一起。
下一篇:隔膜計量泵吸液不正常故障處理






